
temperatures and do not brown food too
much.
CARE AND CLEANING
Warning! Refer to "Safety information"
chapter.
Notes on cleaning:
• Clean the front of the appliance with a
soft cloth with warm water and cleaning
agent.
• To clean metal surfaces use a usual
cleaning agent.
• Clean the appliance interior after each
use. Then you can remove dirt more
easily and it does not burn on.
• Clean stubborn dirt with a special oven
cleaner.
• Clean all accessories (with a soft cloth
with warm water and cleaning agent) af-
ter each use and let them dry.
• If you have nonstick accessories, do not
clean them using an aggressive agents,
sharp edged objects or dishwasher. It
can cause a damage to the nonstick
coating.
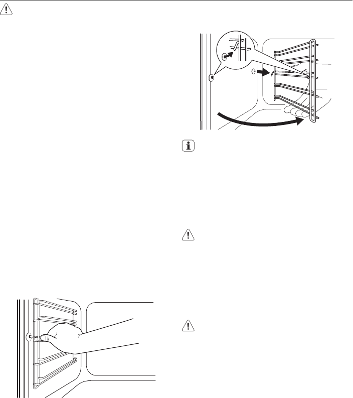
SHELF SUPPORT
You can remove the shelf support to clean
the side walls.
Removing the shelf support
1. Pull the front of the shelf support away
from the side wall.
2. Pull the shelf support from the back of
the side wall to remove it.
1
2
To install the shelf support follow the
procedure in reverse.
Important! Valid with telescopic
runners:
The retaining pins on the telescopic shelf
runners must point to the front!
OVEN LAMP
Warning! There is a risk of electrical
shock.
The oven lamp and the lamp glass cov-
er can be hot.
Before you change the oven lamp:
• Deactivate the appliance.
• Remove the fuses from the fuse box or
deactivate the circuit breaker.
Caution! Put a cloth on the bottom of
the interior of the appliance. It prevents
damage to the lamp glass cover and
the cavity.
Replacing the oven lamp:
1. You can find the lamp glass cover at
the cavity ceiling.
Turn the lamp glass cover counter-
clockwise to remove it.
2. Clean the glass cover.
3. If necessary, replace the oven lamp
with applicable 300°C heat-resistant
oven lamp.
Important! Use the same oven lamp type.
4. Install the glass cover.
electrolux 17
Kommentare zu diesen Handbüchern